Description
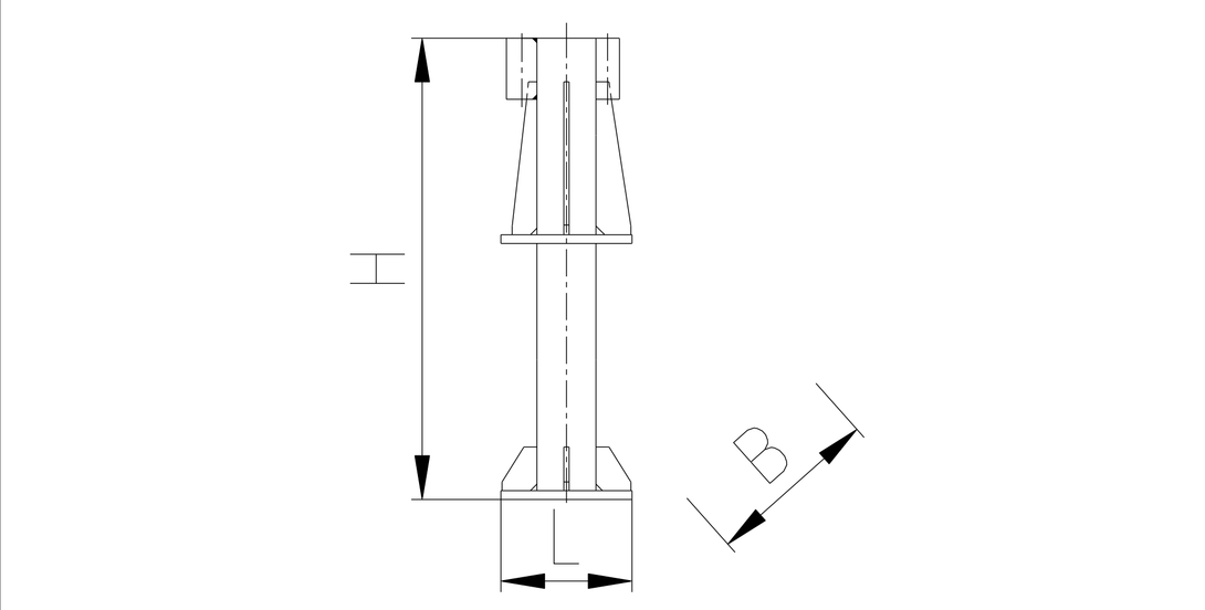
The tower crane is fixed to the foundation via embedded outriggers.
Dimensions and embedding depth: The length of the embedded outrigger is 1250mm, and the embedding depth is 900mm.
Connection method: There are 3 connecting sleeves respectively on the main chords at the upper and lower ends of the embedded outrigger's fixed base section, which are connected to the embedded outrigger's fixed foundation through 12 sets of 10.9-grade high-strength bolt M30 assemblies.
6012-6013-6015-Embedded outrigger
¥0.00
